汕尾鋼結構施工常見問題及處理辦法
一.鋼結構連接
?問題:現場焊縫,設計要求全焊透的一、二級焊縫未采用超聲波探傷;樓面主梁與柱未施焊;質量難以保證;未采用引弧板施焊。
?措施:不合格的焊縫不得擅自處理,定出修改工藝后再處理,同一部位的焊縫返修次數不宜超過兩次。鋼結構施焊前,對焊條的合格證進行檢查,按設計要求選用焊條。
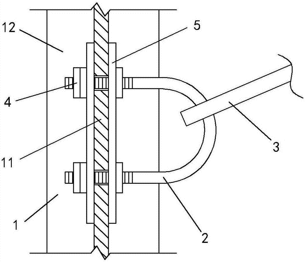
?問題:高強螺栓連接,螺桿不能自由旋入螺母,螺栓絲扣損傷,影響螺栓的裝配。
?措施:(1)清洗除銹后作預配,使用前螺栓應進行挑選;(2)使用時不得互換,預先選配的螺栓組件應按套存放;(3)嚴禁強行打進螺孔絲扣損傷的螺栓不能做臨時螺栓使用。

?問題:螺栓裝備面不符合要求,造成螺栓不好安裝,或者螺栓緊固的程度不符合設計要求。
?措施:(1)防止重復進行,處理裝配面應考慮到施工安裝順序,并盡量在吊裝之前處理;(2)使用前必須經防銹處理,使拼裝用的螺栓,不得在正式拼裝時使用。螺栓應由專人保管和發放。高強螺栓表面浮銹、油污以及螺栓孔璧毛病,應逐個清理干凈。

二、構件的變形
?問題:鋼梁的安裝質量不良鋼梁構件拼裝后全長扭曲超過允許值。
?措施:(1)翻身施焊前要進行加固,構件翻身后也應進行找平,自身剛性較差的構件,否則構件焊后無法矯正。(2)拼裝構件要設拼裝工作臺,拼裝工作臺應各支點水平,組焊中要防止出現焊接變形。尤其是梁段或梯道的最后組裝,要在定位焊后調整變形,注意節點尺寸要符合設計,否則易造成構件扭曲。定位焊時要將構件底面找平,防止翹曲。
?問題:構件起拱數值小時,安裝后梁下撓;起拱數值大時,易產生擠面標高超標。構件起拱,數值大于或小于設計數值。
?措施:
(1)嚴格按鋼結構構件制作允許偏差進行各步檢驗。
(2)應嚴格控制累計偏差,注意采取措施,在小拼裝過程,消除焊接收縮量的影響。
(3)桿件且安裝完畢,以及工地接頭施工結束后,都進行上拱度測量,在架設過程中,并在施工中對其他進行調整。
?問題:出現死彎或緩彎,造成構件無法進行安裝,構件在運輸時發生變形。
?措施:
(1)構件制作時,采用減小焊接變形的措施。
(2)待運及運輸中,注意墊點的合理配置。
(3)組裝焊接中,組裝順序應服從焊接順序,使用組裝胎具,采用反方向變形等措施,設置足夠多的支架,防止變形。
(4)采取氧乙炔火焰加熱矯正結構發生緩彎變形時。
(5)構件死彎變形,即用千斤頂或其他工具矯正或輔以氧乙炔火焰烤后矯正。一般采用機械矯正法治理。
云南標佰輕鋼活動房
位于昆明經開區信息產業基地云南海歸創業園,立足云南本土,深耕市場多年,和很多省內外開發商都有長期緊密合作,尤其深受昆明及周邊郊市、縣客戶的喜歡,基本是靠回頭客轉介紹把生意做大做強的,絕不以次充好。有意向可以進入官網了解,或者直接聯系企業經營部咨詢。
公司團隊成員擁有豐富的建筑設計制作經驗,能完善處理各項技術問題,積極與客戶溝通,售后服務態度好,面面俱到;技術好施工時間短;價格透明。這是公司參與激烈的市場競爭的寶貴資本,也是保障客戶利益的堅實后盾。
標佰推薦
相關行業資訊
- 汕尾姚安縣農特產品生產加工廠房建設項目勘察設計采購施工總承包(EPC)招標公告
- 汕尾中節能工業節能有限公司華坪分公司冷卻塔減速機支架鋼結構更換(二次公告)采購公告
- 汕尾昭通市圖書館、文化館、科技館、青少年活動中心建設項目鋼結構專業分包招標
- 汕尾漾月街道法雨社區農特產品倉儲及冷庫項目施工招標公告
- 汕尾沾益區第二污水處理廠新建工程第三方質量檢測服務資格預審公告
最新資訊文章
- 汕尾老撾中航鋼結構建設工程有限公司
- 汕尾老撾中航鋼結構建設工程有限公司資質
- 汕尾工地臨建活動板房怎么選擇?
- 汕尾成年人最難得的清醒:管理好自己的能量
- 汕尾活動房可以在哪些地方使用
- 汕尾帶你認識打包箱活動房
- 汕尾臨時活動板房國家規范 活動板房的質量標準是什么?
- 汕尾工地活動板房搭建必知的10個注意事項!
- 汕尾云南標佰建設工程有限公司介紹--英文版
- 汕尾云南標佰建設工程有限公司介紹--中文版
- 汕尾面對生活 請繼續保持微笑
- 汕尾居安思危,力求穩重,以自身確定性應對不確定性
- 汕尾小型集裝箱活動房-買優惠的集裝箱箱房選擇云南標佰輕鋼活動房屋
- 汕尾上海近期開征房產稅?稅務局辟謠:征收試點已超10年
- 汕尾外媒:孟晚舟引渡案聽證會結束 法官將于10月21日作出裁決
- 汕尾云南近期活動板房新聞盤點
- 汕尾云南活動房昆明活動房之彩鋼板活動房
- 汕尾云南標佰輕鋼活動房,昆明活動房的金屬拱形屋面與傳統結構
- 汕尾云南彩鋼活動房,昆明活動房如何做到防火
- 汕尾云南彩鋼活動房屋裝修注意事項
- 汕尾標佰活動房板材材料介紹
- 汕尾云南活動房,昆明彩鋼活動房生產廠家哪家好
- 汕尾制作精良的云南活動房、昆明活動板房都有哪些特別之處
- 汕尾云南活動房舊了別扔,昆明活動房回收時需要注意的地方
- 汕尾拆裝式活動板房,云南活動板房用途大全
- 汕尾美麗云南活動房別墅進來了解下
- 汕尾如何降低云南活動房,彩鋼活動房工程成本
- 汕尾一般活動房質量要怎么檢測,標佰給你介紹下
- 汕尾云南集裝箱活動房詳細介紹
- 汕尾標佰活動房種類用途大曝光
- 汕尾小小活動房防疫離不了
- 汕尾標佰雙坡活動房有什么特點,用在哪兒
- 汕尾活動板房“降落”村口 防疫執勤點“上線”
- 汕尾夏季活動房的防火注意事項
- 汕尾云南標佰活動房板材材料介紹
- 汕尾性價比高的云南活動房哪里有賣
- 汕尾昆明活動房安裝竅門
- 汕尾云南彩鋼活動房分類
- 汕尾云南彩鋼活動房有什么優勢
- 汕尾云南活動房生產的三種模式
公眾號
手機網站